电解电容器最重要的部件是铝箔。第一步是切割铝箔。事实上,铝箔切割前有很多工序。

第一步是切割铝箔:因为铝箔是一整卷。因此,电解电容器制造商通常在获得铝箔后根据具体型号的尺寸进行切割。
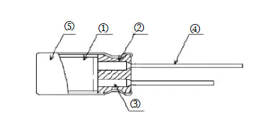
第二步:电解电容器钉扎和绕组。该步骤主要是将电解电容器导销或导箔铆接到铝箔上,然后缠绕的过程。正极箔、负极箔、电解纸等用专用设备缠绕。
第3步:底漆浸渍:电解电容器需要将电解液浸入浸渍槽中的缠绕底漆中。电解液不能直接倒入电解电容器中。我们需要把它放在一个特殊的浸泡罐中,在压力下浸泡。
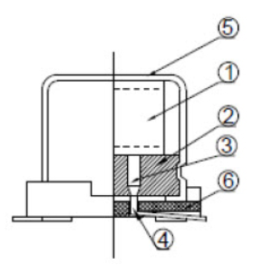
第四步:组装:组装是将浸泡过的蔬菜取出,放入铝壳中,然后封口的过程。
第五步:套管或老化。这个步骤之所以是套管或老化,是因为导针式小型电解电容器的工艺不同于大型牛角电解电容器。导针式小电解电容器是先套管后老化。牛角电解电容器一般先老化,再老化。这是因为通常在牛角电解电容器的套管上加垫片,如果加垫片后电解电容器的防爆孔在高温老化过程中出现微凸,我们很难找到。
第6步:分拣、测试和外观检查。电解电容器老化后,将通过自动测试机进行测试。
第7步:包装QA入库。
